ในวัสดุที่นำเสนอตามลำดับทุกขั้นตอนของการสร้างระบบทำความร้อนที่มีประสิทธิภาพสำหรับบ้านในชนบทที่มีหม้อไอน้ำเชื้อเพลิงแข็งได้รับการพิจารณา เริ่มต้นด้วยตัวเลือกของอุปกรณ์และการคำนวณพลังงานสิ้นสุดด้วยแผนการติดตั้งและกฎการดำเนินงาน

สารบัญ:
การเลือกประเภทของหม้อไอน้ำเชื้อเพลิงแข็งและอุปกรณ์ที่เหมาะสม
ในขณะนี้มีหม้อไอน้ำเชื้อเพลิงแข็ง 4 ประเภทหลัก
แบบดั้งเดิมมันคลาสสิก
การออกแบบที่ล้าสมัยในด้านศีลธรรมด้วยประสิทธิภาพที่ต่ำมาก - น้อยกว่า 60% มันต้องการการบำรุงรักษาบ่อยครั้งการบรรทุกน้ำมันเชื้อเพลิงแบบแมนนวล 4 ถึง 8 ครั้งต่อวัน ข้อดีหลักคือต้นทุนต่ำความน่าเชื่อถือสูงและไม่โอ้อวดมาก
การเผาไหม้ที่ยาวนาน
เทคโนโลยีของพวกเขาได้รับการพัฒนาย้อนกลับไปในยุค 70 ของศตวรรษที่ผ่านมาและนำมาสู่ข้อสรุปเชิงตรรกะโดยใช้วิธีการควบคุมอุณหภูมิที่ทันสมัย การปรากฏตัวของปั๊มหมุนเวียนบังคับทำให้ระบบนี้มีประสิทธิภาพมากกว่าแบบคลาสสิกเล็กน้อย แต่มีความผันผวน เราไม่ทราบว่าการโหลดเชื้อเพลิงลงในหม้อไอน้ำที่เผาไหม้เป็นเวลานานอาจเกิดขึ้นได้เฉพาะวงจร - นี่คือไม่ประหยัดโดยมีการเปลี่ยนแปลงของอุณหภูมิบ่อยครั้งและไม่สะดวกในการบำรุงรักษา เมื่อรวมกับรูปแบบการรัดที่ซับซ้อนและรายการข้อ จำกัด ทั้งหมดในระหว่างการจุดไฟเครื่องนี้ทำงานได้ยากมาก
หม้อไอน้ำแบบไพโรไลซิส
ชนิดที่ค่อนข้างใหม่ หลักการของการจ่ายความร้อนนั้นขึ้นอยู่กับการเผาไหม้ของก๊าซไพโรไลซิสซึ่งจะถูกปล่อยออกมาหลังจากการบำบัดความร้อนของเชื้อเพลิง ผู้ผลิตควบคุมประสิทธิภาพของหม้อไอน้ำดังกล่าวมากกว่า 90% ซึ่งเป็นเพียงกลไกการโฆษณา การคำนวณประสิทธิภาพนี้คำนึงถึงพลังงานที่ใช้ในกระบวนการไพโรไลซิส
ไพโรไลซิสเป็นกระบวนการสลายตัวของไม้เมื่อถูกความร้อนโดยไม่ต้องเข้าถึงอากาศซึ่งจะมาพร้อมกับการปล่อยก๊าซที่ติดไฟได้
KDP ที่แท้จริงซึ่งเป็นรุ่นที่สมบูรณ์แบบทางเทคนิคของหม้อไอน้ำชนิดนี้ไม่เกิน 75-80% และนี่คือการพิจารณาสภาพการทำงานในอุดมคติซึ่งหมายความว่าความชื้นเชื้อเพลิงไม่เกิน 10% เมื่อความชื้นเพิ่มขึ้นประสิทธิภาพของความร้อนที่เป็นประโยชน์จะลดลงอย่างรวดเร็ว มีความเสี่ยงเพิ่มเติมที่เกิดขึ้นระหว่างการดำเนินการ ที่ใหญ่ที่สุดคือการไหลที่อาจเกิดขึ้นของก๊าซไพโรไลซิ ด้วยการโหลดอุปกรณ์อย่างเป็นระบบด้วยเชื้อเพลิงที่มีความชื้นสูงห้องเครื่องกำเนิดก๊าซจะไหม้อย่างรวดเร็ว เพื่อป้องกันสิ่งนี้ขอแนะนำให้วางแนวหม้อไอน้ำในแต่ละฤดูร้อน
ประเภทเม็ด
หม้อไอน้ำเชื้อเพลิงแข็งที่เป็นเทคโนโลยีขั้นสูงที่สุดที่คุณสามารถเลือกได้ มันมีชุดของระบบควบคุมกระบวนการอัตโนมัติและความปลอดภัย ในขณะนี้อุปกรณ์ดังกล่าวมีราคาแพงที่สุด แต่มีความก้าวหน้าทางเทคนิคที่สุด:
- ประสิทธิภาพสูง - 85-90%;
- อัตโนมัติเต็มรูปแบบของกระบวนการในการโหลดเม็ดเชื้อเพลิง;
- ระบบควบคุมความยืดหยุ่นของอุณหภูมิในห้อง
- ระดับสูงของความปลอดภัยระหว่างการใช้งาน
อุปกรณ์และลักษณะทางเทคนิคของเม็ดหม้อไอน้ำ:

1. ถังสำหรับเม็ด;
2. สว่านเม็ด;
3. มอเตอร์สว่าน
4. หัวฉีดสำหรับส่งเชื้อเพลิงไปยังเครื่องเผาไหม้
5. หัวจ่ายน้ำมันไปที่หัวเตา
6. เครื่องทำความสะอาดเถ้าไฟฟ้า
7. เครื่องแลกเปลี่ยนความร้อน - ผ่านสามเท่าของก๊าซอุณหภูมิสูงให้ประสิทธิภาพสูง
8. แผงควบคุม
9. หน้าต่างควบคุมการปรากฏตัวของเม็ดเชื้อเพลิงในถัง

หลักการแผนผังการทำงานของหม้อไอน้ำความร้อนอัดเม็ด

เม็ดเชื้อเพลิงที่ใช้เป็นเชื้อเพลิงในหม้อไอน้ำเหล่านี้
ในทางกลับกันหม้อตุ๋นเม็ดสามารถแบ่งออกเป็นสามประเภทตามประเภทของโครงสร้างขององค์ประกอบหลักของห้องเผาไหม้
หัวไฟฉาย
นี่เป็นเทคโนโลยีที่ประหยัดที่สุดที่ใช้ในอุปกรณ์ประเภทนี้ การเผาไหม้เชื้อเพลิงเกิดขึ้นในการไหลของอากาศที่พัดลมสร้างขึ้นที่อุณหภูมิสูงถึง 12000C. คุณสมบัติที่โดดเด่นของเทคโนโลยีนี้คือความคล่องตัวและความเรียบง่ายของคุณภาพน้ำมันเชื้อเพลิง

เมื่อเลือกเครื่องเขียนประเภทนี้ตรวจสอบให้แน่ใจว่ามีห้องวัดแสงเพิ่มเติม (เน้นในรูป) พร้อมวาล์วปิดเปิดปิดที่ช่วยป้องกันการเผาไหม้แบบย้อนกลับ สิ่งนี้จะทำให้กระบวนการให้อาหารเม็ดประหยัดและปลอดภัยยิ่งขึ้น
ตะแกรง
ด้วยวิธีนี้เม็ดเชื้อเพลิงจะถูกป้อนเข้าไปในถังเก็บและจากนั้นพวกมันจะถูกเทลงใต้น้ำหนักของตัวเองลงบนตะแกรง ด้านล่างมีการสูบลมที่รองรับการเผาไหม้ เตารีดกริดสามารถแก้ไขได้และเคลื่อนที่ได้ หลังถูกใช้ในการเผาเชื้อเพลิงเศษส่วนขนาดใหญ่ที่มีปริมาณเถ้าสูง

ห้องเผาไหม้วาล์วฟีดเม็ดจะถูกเน้น

ตะแกรงมันยังติดตั้งอยู่ในถาดรูปกรวย
หม้อฆ่าเชื้อ
เหล็กหรือชามเหล็กที่เกิดการเผาไหม้ เม็ดจะถูกป้อนผ่านรางจากด้านล่างด้วยสว่านโหลดพิเศษ อากาศที่เผาไหม้ปฐมภูมิจะถูกส่งในลักษณะเดียวกัน อากาศทุติยภูมิเพื่อควบคุมและเพิ่มความเข้มข้นให้กับกระบวนการผ่านรูในโต้
วิดีโอ: ฟีดเม็ดในเครื่องเขียนโต้
อุปกรณ์เพิ่มเติมสำหรับหม้อไอน้ำ
เกือบทุกรุ่นที่ทันสมัยมีฟังก์ชั่นต่อไปนี้เป็นมาตรฐาน:
1. จุดระเบิดอัตโนมัติ - การใช้งานไดร์เป่าผมอุณหภูมิสูงในตัวเรือนที่ไม่ได้รับการป้องกันความร้อนได้รับการปรับให้เหมาะสม นอกจากนี้ยังใช้องค์ประกอบความร้อนจากโลหะหรือเซรามิก แต่ทนทานน้อยกว่า วิธีการอิเล็กโทรดมีความไวต่อความชื้นของเม็ด

2. ระบบควบคุม. โดยทั่วไปเทอร์โมสแตทชนิดต่าง ๆ จะใช้ในการควบคุมอุณหภูมิของสารหล่อเย็นและแลมบ์ดาโพรบซึ่งกำหนดปริมาณของออกซิเจนที่เหลืออยู่ในก๊าซไอเสีย เครื่องตรวจจับทั้งสองควบคุมพลังงานของพัดลมบังคับให้อากาศเข้าไปในเตาเผา
การเลือกแบบจำลองที่มีประสิทธิภาพที่สุด
ก่อนที่จะเลือกหม้อไอน้ำเชื้อเพลิงแข็งมันเป็นสิ่งจำเป็นที่จะต้องกำหนดเกณฑ์ทางเทคนิคและพลังงานที่จะต้องปฏิบัติตามคือ
#1. ใบรับรองการปรับตัวของหม้อไอน้ำทุกหน่วยสำหรับการดำเนินงานในอาณาเขตของสหพันธรัฐรัสเซีย
#2. การปรากฏตัวของหุ่นยนต์หลายโหมดที่มีเม็ดหลากหลายประเภท
#3. ความเป็นไปได้ของการใช้เชื้อเพลิงชนิดต่าง ๆ
#4. ระดับความต้องการคุณภาพน้ำมันเชื้อเพลิง
#5. การปรากฏตัวของน้ำร้อนและความสามารถในการเปิดใช้งานโหมด "ฤดูร้อน" ที่ประหยัด
#6. ความน่าเชื่อถือของการทำงานต่อเนื่องระยะยาวในโหมดสแตนด์อโลน
#7. ระดับเสียงที่ทำซ้ำได้ในโหมดการทำงานต่างๆ:
- ความร้อนมาตรฐาน
- เพิ่มความร้อนด้วยน้ำร้อน
- เริ่มจุดระเบิด;
- การจัดหาเม็ดเชื้อเพลิงจากถังด้านในและด้านนอก
#8. ความสามารถในการเชื่อมต่อการควบคุมเพิ่มเติมภายนอก
#9. การควบคุมการปรับอุณหภูมิของสถานที่
#10. ขนาดการเข้าถึงและถังขยะ
#11. ความพร้อมของระบบรักษาความปลอดภัย
- การควบคุมลมหลัง
- การควบคุมความร้อนสูงเกินไปของสารหล่อเย็น
- ระบบปิดฉุกเฉินอัตโนมัติและระบบดับเพลิง
กฎสำหรับการติดตั้งและการจัดเรียงของห้องหม้อไอน้ำ
เพื่อความสะดวกในการใช้งานการติดตั้งหม้ออัดเม็ดเชื้อเพลิงแข็งต้องดำเนินการในห้องที่กว้างขวาง เมื่อทำการวางมีความจำเป็นต้องสังเกตพารามิเตอร์ของการเยื้องทางเทคโนโลยีจากผนังและพื้นผิวอื่น ๆ ที่ระบุไว้ในหนังสือเดินทางผลิตภัณฑ์
ในทางปฏิบัติมีกรณีเมื่อหลังจากหกเดือนของการดำเนินการพบว่ามันเป็นไปไม่ได้ที่จะเปิดกระทะเถ้าสำหรับทำความสะอาด
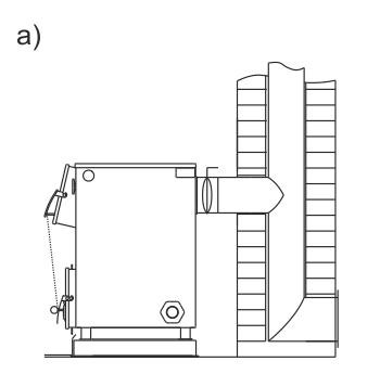
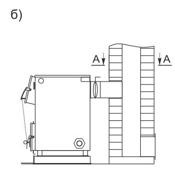
เกณฑ์หลักสำหรับความเหมาะสมของห้องคือการระบายอากาศตามธรรมชาติหรือการบังคับที่ดีและปล่องไฟที่จัดเรียงอย่างเหมาะสม ชุดอุปกรณ์ปล่องไฟที่ใช้กันมากที่สุดคุณสามารถดูด้านล่าง:


โครงการอุปกรณ์ A และ B ของปล่องไฟในบ้าน ในฐานะที่เป็นท่อระบายอากาศจะใช้เพลาระบายอากาศที่จัดเรียงในผนังแบบลีน ช่องทางเหล่านี้จะต้องแยกออกจากระบบระบายอากาศหลักที่บ้าน

โครงการ B - กำจัดปล่องไฟออกจากห้องหม้อไอน้ำที่ตั้งอยู่ในชั้นใต้ดิน


แบบแผน D และ D เป็นอุปกรณ์ปล่องไฟภายนอกจากโรงต้มน้ำที่สร้างขึ้นเป็นพิเศษหรือบ้าน
ในทุกรุ่นของอุปกรณ์ปล่องไฟคุณต้องติดตั้ง:
- จุดประกาย arrester บนปล่องไฟ;
- ปิดผนึกแขนเสื้อเปลี่ยนเป็นห้องหม้อไอน้ำ;
- อุปกรณ์ระบายน้ำ
แนะนำให้ติดตั้งหม้อต้มเชื้อเพลิงแข็งบนหมอนรองพื้นพร้อมชั้นกันความร้อน มีความจำเป็นต้องติดตั้งเครื่องวิเคราะห์ก๊าซแบบพิเศษในห้องหากไม่ได้มาตรฐานในรุ่นที่ซื้อมา
กฎการติดตั้งถังอัดเม็ด
นอกเหนือจากถังในตัวซึ่งมีปริมาตรน้อยและมักต้องเติมน้ำมันเจ้าของจำนวนมากเชื่อมต่อถังบรรจุภายนอกขนาดใหญ่เข้ากับระบบ

ภาชนะบรรจุใด ๆ ที่เหมาะสำหรับการจัดเก็บเม็ดเงื่อนไขหลักคือความหนาแน่นของโครงสร้างถ้ามันอยู่นอกห้องอุ่น เมื่อเลือกปริมาตรของถังบรรจุจำเป็นต้องดำเนินการต่อจากมาตรฐานเม็ด 1 ตันใช้เวลาไม่เกิน 2m3 ความสูงของการก่อสร้างนั้นไม่สำคัญ
มีความเห็นว่าในภาชนะบรรจุที่สูงชั้นล่างของเม็ดถูกบดขยี้นี่ไม่ใช่ความจริง เม็ดเชื้อเพลิงคุณภาพสูงทนแรงกดได้ค่อนข้างมาก
ภาชนะควรอยู่ไม่เกิน 12m จากหม้อไอน้ำ อนุญาตให้มีการออกแบบที่ซับซ้อนของสว่านหรือการใช้กรวยสับเปลี่ยนไดรฟ์ แต่จำเป็นต้องใช้น้ำมันคุณภาพสูงโดยเฉพาะ มิฉะนั้นฝุ่นที่ตกลงไปในเตาในปริมาณมากจะลดประสิทธิภาพและอาจทำลายกลไกการป้อนและจ่ายของหม้อไอน้ำ
ในส่วนล่างของกรวยกรวยถังภายใต้ทางออกของปริมาณเชื้อเพลิงมันเป็นสิ่งจำเป็นเพื่อให้มีการแก้ไขเพื่อการกำจัดฝุ่นอย่างเป็นระบบ หากกรวยมีพื้นที่หน้าตัดเล็ก ๆ มวลของแกรนูลที่ถูกบีบอัดภายใต้แรงดันจะแขวน ในกรณีนี้ขอแนะนำให้ติดตั้งอุปกรณ์พิเศษ "screw agitator"

สิ่งที่กระโดดเชื่อมต่อกับหม้อไอน้ำ
ใช้ตัวสะสมความร้อนและคำนวณปริมาตรสำหรับหม้อไอน้ำเชื้อเพลิงแข็ง
เมื่อใช้อุปกรณ์ทำความร้อนที่ทรงพลังอาจทำให้เกิดความร้อนสูงเกินไปของสารหล่อเย็น และถึงแม้ว่ารุ่นที่ทันสมัยจะมีระบบอัตโนมัติที่สมบูรณ์แบบที่ป้องกันสถานการณ์ดังกล่าวขอแนะนำให้ใช้อุปกรณ์จัดเก็บความร้อนพิเศษ
ตัวสะสมความร้อนทำหน้าที่ดังต่อไปนี้:
- การควบคุมอัตโนมัติของการจ่ายน้ำหล่อเย็นอุ่นตลอดทั้งระบบ
- ใช้เป็นบัฟเฟอร์แลกเปลี่ยนเมื่อสร้างระบบทำความร้อนแบบไฮบริดพร้อมอุปกรณ์ทำความร้อนหลายประเภท
- บางรุ่นสามารถทำหน้าที่เป็นหม้อต้มน้ำร้อนเพิ่มประสิทธิภาพหม้อไอน้ำโดยการลดจำนวนของการปรับร่าง
ตารางคำนวณปริมาตรการจัดเก็บความร้อนสำหรับหม้อไอน้ำเชื้อเพลิงแข็ง
| ความจุความร้อน (L) | เวลาน้ำร้อน (h) ที่พลังงานหม้อไอน้ำ (kW) | ||||||||
|---|---|---|---|---|---|---|---|---|---|
| 20 | 25 | 30 | 35 | 40 | 15 | 50 | 55 | 60 | |
| 500 | 1,2 | 0,9 | 0,8 | 0,7 | 0,6 | 0,5 | 0,5 | 0,4 | 0,4 |
| 1000 | 2,3 | 1,9 | 1,6 | 1,3 | 1,2 | 1,0 | 0,9 | 0,8 | 0,8 |
| 1200 | 2,8 | 2,2 | 1,9 | 1,6 | 1,4 | 1,2 | 1,1 | 1,1 | 0,9 |
| 1500 | 3,5 | 2,8 | 2,3 | 2,0 | 1,7 | 1,6 | 1,4 | 1,3 | 1,2 |
| 1800 | 4,2 | 3,4 | 2,8 | 2,4 | 2,1 | 1,9 | 1,7 | 1,5 | 1,4 |
| 2000 | 4,7 | 3,7 | 3,1 | 2,7 | 2,3 | 2,1 | 1,9 | 1,7 | 1,6 |
| 2400 | 5,6 | 4,5 | 3,7 | 3,2 | 2,8 | 2,5 | 2,2 | 2,0 | 1,9 |
| 3000 | 7,0 | 5,6 | 4,7 | 4,0 | 3,5 | 3,1 | 2,8 | 2,5 | 2,3 |
| 3500 | 8,1 | 6,5 | 5,4 | 4,7 | 4,1 | 3,6 | 3,3 | 3,0 | 2,7 |
| 4000 | 9,3 | 7,4 | 6,2 | 5,3 | 4,7 | 4,1 | 3,7 | 3,4 | 3,1 |
| 4500 | 10,5 | 8,4 | 7,0 | 6,0 | 5,2 | 4,7 | 4,2 | 3,8 | 3,5 |
| สีเขียวหมายถึงปริมาตรที่เหมาะสมสำหรับความจุของหม้อไอน้ำที่เกี่ยวข้อง | |||||||||
ชนิดและเลย์เอาต์ต่าง ๆ ของท่อหม้อน้ำเชื้อเพลิงแข็ง
มีหลายวิธีในการเชื่อมต่อหม้อไอน้ำและอุปกรณ์ที่เกี่ยวข้องกับระบบทำความร้อนทั่วไปของบ้าน พิจารณาที่พบบ่อยที่สุดของพวกเขา
ถังเก็บทำหน้าที่เป็นหม้อไอน้ำ DHW
การออกแบบของถังเก็บเป็นเกลียวตั้งอยู่ภายในสะสมความร้อน ตัวพาความร้อนร้อนที่อยู่ภายในจะทำให้น้ำไหลของวงจรน้ำร้อน ในกรณีที่มีการเผาไหม้และปิดหม้อไอน้ำตัวสะสมความร้อนจะช่วยให้คุณสามารถรักษาอุณหภูมิห้องที่ยอมรับได้สูงสุด 2 วัน โดยมีเงื่อนไขว่าไม่ใช้ฟังก์ชัน DHW
เพื่อควบคุมปริมาณและอุณหภูมิของสารหล่อเย็นจะใช้อุปกรณ์ผสมเทอร์โมอัตโนมัติ:

- บอลวาล์ว;
- เครื่องวัดอุณหภูมิ;
- เครื่องสูบน้ำ
อุปกรณ์ดังกล่าวยังติดตั้งวาล์วกันกลับซึ่งเป็นวาล์วอัตโนมัติฉุกเฉินที่มีการไหลเวียนตามธรรมชาติ (ในกรณีที่ไฟฟ้าดับ) พัดลมระบายความร้อนในตัวและอุปกรณ์ติดตั้ง
หลักการทำงานของอุปกรณ์มีดังนี้ เมื่อสารหล่อเย็นถึงอุณหภูมิที่กำหนด (780 ° C) วาล์วระบายความร้อนจะเปิดน้ำประปาจากไดรฟ์ อุณหภูมิจะคงอยู่ในระดับที่กำหนดไว้โดยการปรับหน้าตัดของทางเดินกลับจากระบบทำความร้อนส่วนกลางเป็นช่องบายพาส
แผนภาพการเชื่อมต่อของหม้อไอน้ำเชื้อเพลิงแข็งกับเครื่องสะสมความร้อนแบบสองจุดประสงค์:

1. กลุ่มความปลอดภัย
2. ถังเก็บความร้อน
3. เครื่องผสมความร้อน;
4. เมมเบรนถังขยายตัว;
5. ระบบแต่งหน้าวาล์ว
6. ปั๊มหมุนเวียนของระบบทำความร้อน;
7. หม้อน้ำ;
8. ผสมวาล์วสามทาง
9. เช็ควาล์ว;
10. ปั๊มหมุนเวียน DHW
การเชื่อมต่อตัวสะสมความร้อนและตัวแยก DHW
ปริมาณของหม้อไอน้ำสำหรับความร้อนแบบพาสซีฟของระบบ DHW ขึ้นอยู่กับจำนวนของผู้บริโภคและพลังงานของอุปกรณ์ที่ใช้ เมื่อมัดตุ๋นเม็ดไม่แนะนำให้ใช้วัสดุและโครงสร้างโพลีโพรพีลีน อุณหภูมิเต้าเสียบของตัวแลกเปลี่ยนความร้อนที่โหลดสูงสุดมักเกินประสิทธิภาพของท่อที่ทำจากวัสดุโพลีเมอร์
การควบคุมหม้อไอน้ำเชื้อเพลิงแข็งพร้อมหม้อต้มน้ำร้อนแยก:

1. หม้อไอน้ำ
2. กลุ่มความปลอดภัย
3. ถังขยายแบบไดอะแฟรม
4. ปั๊มหมุนเวียน
5. แตะผสมสามทางด้วยตนเอง
6. ระบบแต่งหน้าวาล์ว
7. หม้อน้ำร้อน
8. หม้อต้มน้ำร้อนในประเทศเครื่องทำความร้อนทางอ้อม
9. ถังเก็บความร้อน
การเชื่อมต่อแบบขนานของหม้อไอน้ำสองตัว
เพื่อยืดอายุการใช้งานและกระจายทรัพยากรที่ใช้อย่างสม่ำเสมอผู้ใช้มักรวมแหล่งความร้อนสองประเภทไว้ในรูปแบบการจ่ายความร้อนเดี่ยว ในกรณีนี้แหล่งความร้อนหลักในฤดูหนาวคือหม้อต้มเชื้อเพลิงแข็ง หม้อต้มน้ำไฟฟ้าจะเปิดในโหมดฉุกเฉินและในช่วงฤดูร้อนเมื่อมีการใช้น้ำร้อน
รูปแบบของการผูกของหม้อไอน้ำเชื้อเพลิงแข็งที่มีการเชื่อมต่อไฟฟ้าแบบขนาน:

1. หม้ออัดเม็ด
2. กลุ่มรักษาความปลอดภัยระบบทำความร้อน
3. หม้อไอน้ำทางเลือก (ไฟฟ้าหรือก๊าซ)
4. ตัวแยกสำหรับกำจัดอากาศออกจากระบบ
5. ปั๊มหมุนเวียน
6. แตะผสมสามทางด้วยตนเอง
7. วาล์วป้องกันการทำงานที่แห้ง
8. ถังขยาย
9. วาล์วน้ำแต่งหน้า
10. ถังเก็บความร้อน
11. หม้อน้ำร้อน
12. อ่างล้างหน้า
13. ปั๊มหมุนเวียน DHW
ระบบทำความร้อนที่ใช้หม้ออัดเม็ดค่อนข้างซับซ้อนและต้องมีการปรับอย่างระมัดระวัง ก่อนดำเนินการติดตั้งให้อ่านวัสดุการเรียนการสอนจากผู้ผลิตอย่างละเอียด
